Спецификация
Реализация корпуса | |
| Внешний вид и материал | Пластик |
| Монтаж | На DIN-рейку |
| IP-защита изделия | IP20 |
Аналоговый ввод | |
| Каналов аналогового ввода | 4 |
| Разрядность АЦП | 16 Бит |
| Диапазон входного сигнала по напряжению | +/-5 В, +/-10 В, 1...5 В |
| Диапазон входного сигнала по току | 4...20 мА, -20...+20 мА |
Электропитание | |
| DC входное напряжение | 24...24 В |
Размеры | |
| Ширина | 27 мм |
| Глубина | 81 мм |
| Высота | 109 мм |
Требования к условиям использования | |
| Рабочая температура | 0...55 °C |
| Влажность | 10-90% |
Модификации
Вопросы о товаре
Геннадий
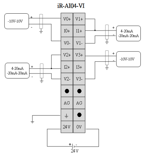
Пытаюсь подключить аналоговый датчик Balluff BMP000M (выход 0-10 V) к модулю iR-AI04-VI, при подключении выхода 0V датчика к минусу питания модуля V0- на индикаторе появляется ошибка. Не могли бы вы поделиться схемой подключения?
Добрый день, Геннадий. Попробуйте использовать схему подключения, как на примере: 
